Craftsman Select 24 (CMXGBAM213101) (31AS6K1EB93) Craftsman 24" Snow

Craftsman 24 Snowblower Parts. C950528150 Craftsman 24" Snowblower Parts List DR Mower Parts We also have Craftsman 29 inch 90 hp snowblower parts Use your model number and get started ordering Craftsman Snow Blower parts today! Skip to main content

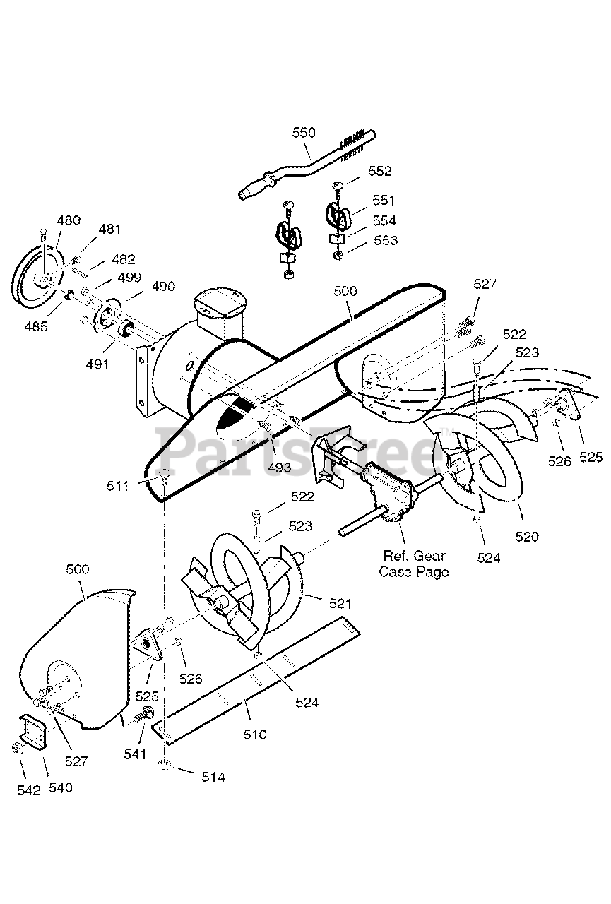
24 Inch Craftsman Snowblower Parts Diagram
24 Inch Craftsman Snowblower Parts Diagram from schematicmaxeyfatwahs.z21.web.core.windows.net

Find the right Craftsman Snowblower Model 247.889571 replacement parts for your repair We also have Craftsman 29 inch 90 hp snowblower parts

24 Inch Craftsman Snowblower Parts Diagram

536887251 Craftsman 24" 5.5 Hp Snowblower 536881130 Craftsman 11 Hp Snowblower 536885214 Craftsman Snow Thrower Enter your Craftsman snow blower model numbers in the search bar and use the exploded parts drawings on our Sears PartsDirect website to easily find the Sears snow thrower parts you need to get your. Repair parts and diagrams for 536.881550 - Craftsman 24" Snow Thrower (2004) (Sears)

C950520090 Craftsman 24" Snowblower Parts List DR Mower Parts. We offer model diagrams, accessories, expert repair help, and fast shipping Here are the diagrams and repair parts for Official Craftsman 247889571 24" snow thrower, as well as.

Craftsman 247.889550 (31AM62EE799) Craftsman Snow Thrower (2008. Lookup by parts number for MTD Craftsman OEM parts The model and serial number ID tag is located on the: